ダブルろ過タイプ
販売価格:12,000円 〔税抜き〕 |
微細な塵埃もろ過しますので、貯水槽のメンテナンスを省き、トイレの洗浄水など中水に利用できます。 |
【ポイント】 |
|
高密度ポリエチレン
粗目&細目スクリーン:SUS304 |
| サイズ |
W350×H663×奥行90[ミリ] |
| 本体の重さ |
1050g |
| 梱包サイズ |
W265×D230×H425 |
|

<拡大>
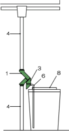
【ダブルろ過タイプの断面図】
|
- 竪樋に取付けた「分流部」により、雨水に混入したゴミを粗目スクリーンによって除去しながら雨水を集めます。
- 家屋壁面に設置した「トラップ」に、汚れた初期雨水が貯留され、細目スクリーン(SUSメッシュ#40、目開き:0.4ミリ)で二次ろ過することで澄んだ水にします。
- 「分流部」の取付位置を調整することにより貯水槽が満水時にはオーバーフロー機能をはたします。
- 「トラップ」の初期雨水は、数時間で下部より排水され、細かい塵埃は下部に沈殿します。ドロップ排水穴は、詰まったままでも特に支障ありません。「トラップ」より水が排出されなくなったら、ドレンキャップをはずし沈殿物を除去します。
- 日常のメンテナンスもほとんど必要ありません。
- 「ダブルろ過タイプ」から「シングルろ過タイプ」に「トラップ」をはずせば変更ができます。(「分流部」に直接「送水部」を取付け)
- 日曜大工で、取付けできます。
竪樋径φ55、φ60、φ75への取付けは、「分流部」の上下を部分カットして取付けます。
- トラップを家屋壁面などに取付けるための専用金具が附属しています。(壁面取付けのビスは付属していません。壁の材料に合わせたビス等をご用意下さい。)
|
実用新案登録第3066431号 |
シングルろ過タイプ
販売価格:6,800円 〔税抜き〕 |
トラップをとった簡易ろ過タイプ。植物への散水用であれば、問題なく利用できます。 |
【ポイント】 |
|
高密度ポリエチレン
|
| サイズ |
W238×H340×奥行90[ミリ] |
| 本体の重さ |
400g |
| 梱包サイズ |
W265×D110×H425 |
|

<拡大>
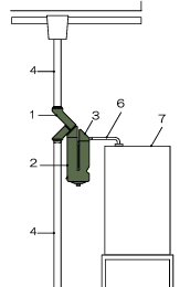
【シングルろ過タイプの断面図】
|
- 竪樋に取付けた「分流部」により、雨水に混入したゴミを粗目スクリーンによって除去しながら雨水を集めます。
- ごく少量の雨水は管壁をつたわって下水管へ流れる比率が高くなっており降雨初期の汚れた雨水の流入を押さえます。
- 「分流部」の取付位置を調整することにより貯水槽が満水時にはオーバーフロー機能をはたします。
- 日常のメンテナンスもほとんど必要ありません。
- 日曜大工で、取付けできます。
竪樋径φ55、φ60、φ75への取付けは、「分流部」の上下を部分カットして取付けます
|
|